Dette er et søkefelt med autofullføringsforslag. Start å skrive og du vil få opp forslag på virkestoff, legemidler og bruksområder, som du kan velge mellom. Bruk Søke-knappen hvis autofullføringsforslagene ikke er relevante, eller Strekkode-knappen hvis du ønsker å skanne strekkoden på legemiddelpakningen.
Virkestoff: Sterilt vann
Pakningsvedlegg
Pakningsvedlegg: Informasjon til brukeren
Sterilt vann B. Braun oppløsningsvæske til parenteral bruk
vann til injeksjonsvæsker
Les nøye gjennom dette pakningsvedlegget før du begynner å bruke dette legemidlet. Det inneholder informasjon som er viktig for deg.
-
Ta vare på dette pakningsvedlegget. Du kan få behov for å lese det igjen.
-
Spør lege, apotek eller sykepleier hvis du har flere spørsmål eller trenger mer informasjon.
-
Kontakt lege, apotek eller sykepleier dersom du opplever bivirkninger. Dette gjelder også bivirkninger som ikke er nevnt i pakningsvedlegget. Se avsnitt 4.
I dette pakningsvedlegget finner du informasjon om:
- Hva Sterilt vann B. Braun er og hva det brukes mot
- Hva du må vite før du bruker Sterilt vann B. Braun
- Hvordan du bruker Sterilt vann B. Braun
- Mulige bivirkninger
- Hvordan du oppbevarer Sterilt vann B. Braun
- Innholdet i pakningen og ytterligere informasjon
1. Hva Sterilt vann B. Braun er og hva det brukes mot
Sterilt vann B. Braun er sterilt vann til injeksjonsvæsker.
Det brukes som oppløsningsvæske og til fortynning av legemidler som skal injiseres inn i en blodåre (parenteral bruk).
2. Hva du må vite før du bruker Sterilt vann B. Braun
Bruk ikke Sterilt vann B. Braun
Det er ingen kjente situasjoner hvor Sterilt vann B. Braun ikke bør brukes.
Advarsler og forsiktighetsregler
Sterilt vann B. Braun skal ikke brukes alene. Legen din vil løse opp eller fortynne et annet legemiddel i vann til injeksjonsvæsker før du får det ferdigblandede legemidlet.
Andre legemidler og Sterilt vann B. Braun
Sterilt vann B. Braun vil ikke påvirke effekten av andre legemidler som brukes samtidig.
Inntak av Sterilt vann B. Braun sammen med mat og drikke
Inntak av mat og drikke påvirker ikke effekten av Sterilt vann B. Braun.
Graviditet og amming
Sterilt vann B. Braun kan brukes under graviditet og amming.
Kjøring og bruk av maskiner
Sterilt vann B. Braun påvirker ikke evnen til å kjøre bil og bruke maskiner.
3. Hvordan du bruker Sterilt vann B. Braun
Bruk alltid dette legemidlet nøyaktig slik legen har fortalt deg. Kontakt lege eller apotek hvis du er usikker.
Vanligvis gis dette legemidlet av lege eller sykepleier.
Hvordan legemidlet skal gis avhenger av godkjente retningslinjer for det legemidlet som skal løses opp eller fortynnes. Legemidlet skal tilberedes eller fortynnes umiddelbart før bruk.
Doseringen av Sterilt vann B. Braun og hvor lenge du skal behandles bestemmes av retningslinjene for det legemidlet som løses opp eller fortynnes.
Dersom du tar for mye av Sterilt vann B. Braun
Overdosering er lite sannsynlig da dette legemidlet kun brukes til tilberedning eller fortynning av parenterale legemidler.
Spør lege, apotek eller sykepleier dersom du har noen spørsmål om bruken av dette legemidlet.
4. Mulige bivirkninger
Som alle legemidler kan dette legemidlet forårsake bivirkninger, men ikke alle får det.
Det er ingen kjente bivirkninger dersom retningslinjene følges.
Melding av bivirkninger
Kontakt lege, apotek eller sykepleier dersom du opplever bivirkninger. Dette gjelder også bivirkninger som ikke er nevnt i pakningsvedlegget. Du kan også melde fra om bivirkninger direkte via meldeskjema som finnes på nettsiden til Direktoratet for medisinske produkter: www.dmp.no/pasientmelding. Ved å melde fra om bivirkninger bidrar du med informasjon om sikkerheten ved bruk av dette legemidlet.
5. Hvordan du oppbevarer Sterilt vann B. Braun
Oppbevares utilgjengelig for barn.
Bruk ikke dette legemidlet etter utløpsdatoen som er angitt på beholder og ytterkartong. Utløpsdatoen er den siste dagen i den angitte måneden.
Dette legemidlet krever ingen spesielle oppbevaringsbetingelser.
Bruk ikke dette legemidlet dersom pakningen er skadet, oppløsningsvæsken er uklar eller farget.
Kun til engangsbruk. Ubrukt innhold skal kastes.
Legemidler skal ikke kastes i avløpsvann eller sammen med husholdningsavfall. Spør på apoteket hvordan du skal kaste legemidler som du ikke lenger bruker. Disse tiltakene bidrar til å beskytte miljøet.
6. Innholdet i pakningen og ytterligere informasjon
Sammensetning av Sterilt vann B. Braun
-
Virkestoff er vann til injeksjonsvæsker.
Hvordan Sterilt vann B. Braun ser ut og innholdet i pakningen
Sterilt vann B. Braun er en oppløsning til parenteral bruk: den brukes til å løse opp eller fortynne legemidler som skal gis inn i en blodåre.
Det er en klar, fargeløs væske.
|
Tilgjengelige pakninger:
|
|
|
Hetteglass av fargeløst glass (type II Ph. Eur), forseglet med gummipropper:
|
20 × 50 ml
|
|
20 × 100 ml
|
|
Glassflaske av fargeløst glass (type II Ph. Eur), forseglet med gummipropper (type I Ph. Eur.):
|
100 ml
|
|
Plastampuller (polyetylen):
|
20 × 5 ml
|
|
20 × 10 ml
|
|
20 × 20 ml
|
|
Plastampuller (polypropylen):
|
50 × 10 ml
|
|
100 × 10 ml
|
|
50 × 20 ml
|
|
100 × 20 ml
|
|
Polyetylenbeholder (Ecoflac plus):
|
20 × 50 ml
|
|
20 × 100 ml
|
Ikke alle pakningsstørrelser vil nødvendigvis være på markedet.
Innehaver av markedsføringstillatelsen
B. Braun Melsungen AG
Carl-Braun-Strasse 1
34212 Melsungen
Tyskland
Carl-Braun-Strasse 1
34212 Melsungen
Tyskland
Postadresse:
34209 Melsungen
Tyskland
Tilvirker
34209 Melsungen
Tyskland
B. Braun Melsungen AG
Carl-Braun-Strasse 1
34212 Melsungen
Tyskland
Carl-Braun-Strasse 1
34212 Melsungen
Tyskland
eller
Diaco Biofarmaceutici S.R.L.
Via Flavia, 124
34147 Trieste (TS)
Italia
Via Flavia, 124
34147 Trieste (TS)
Italia
Ta kontakt med den lokale representanten for innehaveren av markedsføringstillatelsen for ytterligere informasjon om dette legemidlet:
B. Braun Medical AS
Mathilde Henriksens vei 1
3142 Vestskogen
tlf.: +47 33 35 18 00
e-post: kundeservice.no@bbraun.com
Mathilde Henriksens vei 1
3142 Vestskogen
tlf.: +47 33 35 18 00
e-post: kundeservice.no@bbraun.com
Dette pakningsvedlegget ble sist oppdatert 06.06.2025
Detaljert informasjon om dette legemidlet er tilgjengelig på nettstedet til www.felleskatalogen.no
Påfølgende informasjon er bare beregnet på helsepersonell:
Etter blanding med tilsettinger
Fra et mikrobiologisk synspunkt skal preparatet brukes umiddelbart med mindre fortynningen er gjort under kontrollerte og validerte aseptiske forhold. Dersom det ikke brukes umiddelbart, er oppbevaringstiden under bruk og oppbevaringsbetingelsene før bruk brukerens ansvar Se for øvrig retningslinjer for legemidlet som skal løses opp eller fortynnes.
Ved tilberedning av parenterale oppløsninger skal vanlige hygieniske forholdsregler følges for å bevare steriliteten.
Trykkinfusjon ved bruk av Ecoflac plus, polyetylenbeholder:
Dersom preparatet skal gis som en rask trykkinfusjon, må all luft fjernes fra både pakning og infusjonssettet før infusjonen startes. Dette utføres for å unngå risiko for eventuell luftemboli i forbindelse med infusjonen. Trykkinfusjon skal utføres ved hjelp av en trykkmansjett.
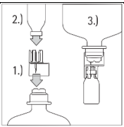
Bruksanvisning for Ecoflac plus-beholder
Dersom preparatet skal gis som en rask trykkinfusjon, må all luft fjernes fra både pakning og infusjonssettet før infusjonen startes. Dette utføres for å unngå risiko for eventuell luftemboli i forbindelse med infusjonen. Trykkinfusjon skal utføres ved hjelp av en trykkmansjett.
|
1. Gravitasjonsinfusjon
|
|
|
2. Trykkinfusjon
|
|
|
3. Tilsettinger
|
|
Tilsetting via kanyle
|
|
Tilsetting ved bruk av Ecoflac Connect overføringsadapter
|
|
Tilsetting ved bruk av Ecoflac Mix overføringsadapter
|






