FELLESKATALOGEN
Virkestoff: Filgrastim
Pakningsvedlegg
Pakningsvedlegg: Informasjon til brukeren
Nivestim 12 MIE/0,2 ml injeksjons-/infusjonsvæske, oppløsning
Nivestim 30 MIE/0,5 ml injeksjons-/infusjonsvæske, oppløsning
Nivestim 48 MIE/0,5 ml injeksjons-/infusjonsvæske, oppløsning
filgrastim
Les nøye gjennom dette pakningsvedlegget før du begynner å bruke dette legemidlet. Det inneholder informasjon som er viktig for deg.
-
Ta vare på dette pakningsvedlegget. Du kan få behov for å lese det igjen.
-
Spør lege, apotek eller sykepleier hvis du har flere spørsmål eller trenger mer informasjon.
-
Dette legemidlet er skrevet ut kun til deg. Ikke gi det videre til andre. Det kan skade dem, selv om de har symptomer på sykdom som ligner dine.
-
Kontakt lege, apotek eller sykepleier dersom du opplever bivirkninger, inkludert mulige bivirkninger som ikke er nevnt i dette pakningsvedlegget. Se avsnitt 4.
I dette pakningsvedlegget finner du informasjon om:
- Hva Nivestim er, og hva det brukes mot
- Hva du må vite før du bruker Nivestim
- Hvordan du bruker Nivestim
- Mulige bivirkninger
- Hvordan du oppbevarer Nivestim
- Innholdet i pakningen og ytterligere informasjon
1. Hva Nivestim er, og hva det brukes mot
Nivestim er en vekstfaktor for hvite blodceller (granulocyttkolonistimulerende faktor) og tilhører en gruppe legemidler som kalles cytokiner. Vekstfaktorer er proteiner som produseres naturlig i kroppen, men som også kan fremstilles bioteknologisk til medisinsk bruk. Nivestim virker ved å stimulere benmargen til å produsere flere hvite blodceller.
En reduksjon i antallet hvite blodceller (nøytropeni) kan oppstå av flere årsaker og gjør kroppen din mindre motstandsdyktig mot infeksjoner. Nivestim stimulerer benmargen til å produsere nye hvite celler raskt.
Nivestim kan brukes:
-
til å øke antallet hvite blodceller etter behandling med kjemoterapi, for å forebygge infeksjoner;
-
til å øke antallet hvite blodceller etter en benmargstransplantasjon, for å forebygge infeksjoner;
-
før høydose kjemoterapi for å stimulere benmargen til å produsere flere stamceller som kan samles opp og gis tilbake til deg etter behandling. Disse kan tas fra deg eller fra en donor. Stamcellene går så tilbake i benmargen og produserer blodceller.
-
til å øke antallet hvite blodceller, dersom du lider av alvorlig kronisk nøytropeni (redusert antall hvite blodceller), for å forebygge infeksjoner.
-
hos pasienter med avansert hiv-infeksjon for å bidra til å redusere risikoen for infeksjoner.
2. Hva du må vite før du bruker Nivestim
Bruk ikke Nivestim
-
dersom du er allergisk overfor filgrastim eller noen av de andre innholdsstoffene i dette legemidlet (listet opp i avsnitt 6)
Advarsler og forsiktighetsregler
Snakk med lege, apotek eller sykepleier før du bruker Nivestim.
Gi legen din beskjed før behandlingen starter dersom du har:
-
sigdcelleanemi, da Nivestim kan forårsake sigdcellekrise
-
benskjørhet (osteoporose).
Informer legen din umiddelbart under behandling med Nivestim dersom du:
-
får plutselige tegn på allergi, for eksempel utslett, kløe eller elveblest på huden, hevelser i ansiktet, på leppene, på tungen eller på andre deler av kroppen, kortpustethet, hvesende pust eller vanskeligheter med å puste, ettersom dette kan være tegn på en alvorlig allergisk reaksjon.
-
opplever hevelse i ansiktet eller anklene, blod i urinen eller brun-farget urin eller du merker at du har mindre urinmengde enn vanlig (glomerulonefritt).
-
får smerter i øvre, venstre del av magen, smerter under venstre ribben eller ytterst på venstre skulder (dette kan være symptomer på forstørret milt (splenomegali) eller mulig sprukket milt).
-
merker uvanlige blødninger eller blåmerkedannelse (dette kan være symptomer på redusert antall blodplater (trombocytopeni), noe som reduserer blodets evne til å koagulere).
Betennelse i hovedpulsåren (den store blodåren som transporterer blod fra hjerte til kroppen) er en sjelden bivirkning hos kreftpasienter og friske donorer. Symptomene kan omfatte feber, magesmerte, sykdomsfølelse, ryggsmerte og økning i betennelsesmarkører. Informer legen din hvis du opplever disse symptomene.
Tap av respons på filgrastim
Hvis du opplever tap av respons eller at du ikke opprettholder responsen på filgrastimbehandlingen vil legen undersøke årsakene til dette, blant annet om du har utviklet antistoffer som nøytraliserer effekten av filgrastim.
Legen ønsker kanskje å følge deg opp ekstra nøye, se avsnitt 4 i dette pakningsvedlegget.
Dersom du er en pasient med alvorlig kronisk nøytropeni, kan du ha risiko for å utvikle blodkreft (leukemi, myelodysplastisk syndrom (MDS)). Du bør snakke med legen din om risikoen for å utvikle blodkreft og om hvilke tester som må tas. Hvis du utvikler eller det er sannsynlig at du kommer til å utvikle blodkreft, skal du ikke bruke Nivestim, med mindre du får beskjed om dette av legen din.
Hvis du er stamcelledonor, må du være mellom 16 og 60 år.
Vær spesielt forsiktig med bruk av andre legemidler som stimulerer hvite blodceller:
Nivestim tilhører en gruppe legemidler som stimulerer produksjonen av hvite blodceller. Helsepersonellet bør alltid registrere nøyaktig hvilket legemiddel du bruker.
Nivestim tilhører en gruppe legemidler som stimulerer produksjonen av hvite blodceller. Helsepersonellet bør alltid registrere nøyaktig hvilket legemiddel du bruker.
Andre legemidler og Nivestim
Snakk med lege eller apotek dersom du bruker, nylig har brukt eller planlegger å bruke andre legemidler.
Graviditet og amming
Nivestim er ikke testet på gravide eller ammende kvinner.
Nivestim er ikke anbefalt under graviditet.
Det er viktig å fortelle legen din hvis du:
-
er gravid eller ammer,
-
tror du kan være gravid eller
-
planlegger å bli gravid.
Med mindre legen din gir deg en annen beskjed, må du slutte å amme når du bruker Nivestim.
Kjøring og bruk av maskiner
Nivestim kan ha en liten påvirkning på evnen din til å kjøre bil og bruke maskiner. Dette legemidlet kan forårsake svimmelhet. Det anbefales at du venter og ser hvordan du føler deg etter at du har tatt Nivestim før du kjører eller bruker maskiner.
Nivestim inneholder natrium
Dette legemidlet inneholder mindre enn 1 mmol natrium (23 mg) per 0,6 mg/ml eller 0,96 mg/ml dose, og er så godt som ”natriumfritt”.
Nivestim inneholder sorbitol:
Dette legemidlet inneholder 50 mg sorbitol i hver ml.
Dette legemidlet inneholder 50 mg sorbitol i hver ml.
Sorbitol er en kilde til fruktose. Hvis du (eller barnet ditt) har medfødt fruktoseintoleranse, en sjelden, arvelig sykdom, skal du (eller barnet ditt) ikke bruke dette legemidlet. Pasienter med medfødt fruktoseintoleranse kan ikke bryte ned fruktose og dette kan føre til alvorlige bivirkninger.
Før dette legemidlet gis til deg (eller barnet ditt) må du informerer legen din, dersom du (eller barnet ditt) har medfødt fruktoseintoleranse eller hvis barnet ditt ikke lenger kan innta søt mat eller drikke fordi de føler seg dårlige, kaster opp eller opplever ubehag slik som oppblåst mage, magekramper og diaré.
3. Hvordan du bruker Nivestim
Bruk alltid dette legemidlet nøyaktig slik legen din har fortalt deg. Kontakt lege, sykepleier eller apotek hvis du er usikker.
Hvordan gis Nivestim og hvor mye skal jeg ta?
Nivestim gis vanligvis som en daglig injeksjon i vevet rett under huden (subkutan injeksjon). Det kan også gis som en daglig, langsom injeksjon i en blodåre (intravenøs infusjon). Vanlig dose varierer avhengig av sykdommen din og vekten din. Legen din forteller deg hvor mye Nivestim du skal ta.
Pasienter som får benmargstransplantasjon etter kjemoterapi:
Du vil vanligvis få din første dose med Nivestim minst 24 timer etter kjemoterapien og minst 24 timer etter at du fikk benmargstransplantasjon.
Du vil vanligvis få din første dose med Nivestim minst 24 timer etter kjemoterapien og minst 24 timer etter at du fikk benmargstransplantasjon.
Du, eller personer som pleier deg, kan få opplæring i hvordan man gir subkutane injeksjoner slik at du kan fortsette med behandlingen hjemme. Du må imidlertid ikke forsøke dette med mindre du først har blitt riktig opplært av helsepersonellet som behandler deg.
Hvor lenge må jeg ta Nivestim?
Du må ta Nivestim inntil antallet hvite blodceller i kroppen din er normalt igjen. Blodprøver vil tas regelmessig for å overvåke antallet hvite blodceller i kroppen din. Legen din vil fortelle deg hvor lenge du må ta Nivestim.
Bruk hos barn
Nivestim brukes i behandling av barn som får kjemoterapi eller som har et alvorlig lavt antall hvite blodceller (nøytropeni). Doseringen for barn som får kjemoterapi er den samme som for voksne.
Dersom du tar for mye Nivestim
Ikke øk dosen du har fått av legen din. Hvis du tror du har injisert for mye, må du kontakte lege så fort som mulig.
Dersom du har glemt å ta Nivestim
Hvis du har glemt å ta en injeksjon eller du har injisert for lite, må du kontakte legen din så raskt som mulig. Du skal ikke ta en dobbel dose som erstatning for en glemt dose.
Kontakt lege, sykepleier eller apotek dersom du har noen spørsmål om bruken av dette legemidlet.
4. Mulige bivirkninger
Som alle legemidler kan dette legemidlet forårsake bivirkninger, men ikke alle får det.
Ta umiddelbart kontakt med legen under behandlingen:
-
dersom du får en allergisk reaksjon, inkludert svakhet, blodtrykksfall, pustevansker, hevelse i ansiktet (anafylaksi), hudutslett, kløende utslett (urtikaria), opphovning av ansiktet, leppene, munnen, tungen eller halsen (angioødem) og kortpustethet (dyspné).
-
dersom du får hoste, feber og pustevansker (dyspné), fordi dette kan være et tegn på Acute Respiratory Distress Syndrome (ARDS).
-
dersom du får nyreskade (glomerulonefritt). Det har blitt observert nyreskade hos pasienter som har fått filgrastim. Kontakt lege umiddelbart hvis du opplever hevelse i ansiktet eller anklene, blod i urinen eller brun urin eller du merker at du har mindre urinmengde enn vanlig.
-
dersom du har noen av eller en kombinasjon av følgende bivirkninger:
-
hevelse eller hovenhet, noe som kan være forbundet med mindre hyppig vannlating, pustevansker, hevelse i mageregionen og metthetsfølelse samt en generell tretthetsfølelse.
Disse symptomene utvikler seg generelt raskt.
-
-
dersom du har en kombinasjon av noen av de følgende symptomene:
-
Feber eller skjelvinger eller en følelse av å være veldig kald, høy hjerterytme, forvirring eller desorientering, kortpustethet, ekstreme smerter eller ubehag og klam eller svett hud.
Dette kan være symptomer på en tilstand som kalles «sepsis» (også kalt «blodforgiftning»), en kraftig infeksjon som gir hele kroppen en betennelsesreaksjon som kan være livstruende og krever øyeblikkelig medisinsk behandling. -
-
dersom du får smerter i øvre, venstre del av magen, smerter under venstre ribben eller smerter ytterst på skulderen, da det kan være et problem med milten (forstørret milt (splenomegali) eller sprukket milt).
-
dersom du blir behandlet for alvorlig kronisk nøytropeni og du har blod i urinen (hematuri). Legen kan ta regelmessige urinprøver hvis du opplever denne bivirkningen, eller hvis det blir funnet proteiner i urinen din (proteinuri).
En vanlig bivirkning ved bruk av filgrastim er smerter i muskler eller knokler (muskel- og skjelettsmerter) som kan lindres ved å ta vanlige smertelindrende legemidler (analgetika). Hos pasienter som gjennomgår stamcelle- eller benmargstransplantasjon, kan transplantat-mot-vert-sykdom (GvHD) forekomme. Dette betyr at donorcellene reagerer på pasienten som mottar transplantatet. Tegn og symptomer omfatter utslett på håndflatene eller under føttene og sår i munnen, magen, leveren, huden eller øynene, lungene, skjede og ledd.
Hos normale stamcelledonorer kan man se en økning i antallet hvite blodceller (leukocytose) og en reduksjon i antallet trombocytter. Dette reduserer blodets evne til å koagulere (trombocytopeni). Dette vil bli overvåket av legen din.
Svært vanlige bivirkninger (kan forekomme hos mer enn 1 av 10 personer):
-
redusert antall blodplater som reduserer blodets evne til å koagulere (trombocytopeni)
-
lavt antall røde blodceller (anemi)
-
hodepine
-
diaré
-
oppkast
-
kvalme
-
uvanlig håravfall eller tynnere hår (alopesi)
-
tretthet (fatigue)
-
sårhet og hevelse i slimhinnen i fordøyelseskanalen som går fra munnen til endetarmsåpningen (slimhinnebetennelse)
-
feber (pyreksi)
Vanlige bivirkninger (kan forekomme hos opptil 1 av 10 personer):
-
betennelse i lungene (bronkitt)
-
øvre luftveisinfeksjon
-
urinveisinfeksjon
-
nedsatt appetitt
-
søvnproblemer (insomni)
-
svimmelhet
-
nedsatt følsomhet i sanseorgan, spesielt i huden (hypoestesi)
-
prikking eller nummenhet i hendene eller føttene (parestesier)
-
lavt blodtrykk (hypotensjon)
-
høyt blodtrykk (hypertensjon)
-
hoste
-
hoste opp blod (hemoptyse)
-
smerter i munnen og halsen (orofaryngeal smerte)
-
neseblødning (epistaksis)
-
forstoppelse
-
smerter i munnen
-
forstørrelse av leveren (hepatomegali)
-
utslett
-
rød hud (erytem)
-
muskelspasmer
-
smerter ved vannlating (dysuri)
-
brystsmerter
-
smerter
-
generell svakhet (asteni)
-
generell sykdomsfølelse (malaise)
-
hevelse i hendene og føttene (perifert ødem)
-
økning av visse typer enzymer i blodet
-
endringer i blodsammensetningen
-
reaksjon på transfusjon
Mindre vanlige bivirkninger (kan forekomme hos opptil 1 av 100 personer):
-
økning i antall hvite blodceller (leukocytose)
-
allergisk reaksjon (overfølsomhet)
-
avstøtning av transplantert benmarg (transplantat-mot-vert-sykdom)
-
høye nivåer av urinsyre i blodet, noe som kan gi gikt (hyperurikemi) (økt urinsyre i blodet)
-
leverskade forårsaket av blokkering av de små venene i leveren (veno-okklusiv sykdom)
-
lungene fungerer ikke som de skal, noe som fører til kortpustethet (pustesvikt)
-
hevelse og/eller væske i lungene (lungeødem)
-
betennelse i lungene (interstitiell lungesykdom)
-
unormale funn på røntgenbilder av lungene (lungeinfiltrering)
-
lungeblødning
-
mangel på oksygenopptak i lungene (hypoksi)
-
klumpete hudutslett (makulopapuløst utslett)
-
sykdom som forårsaker tap av beintetthet, gjør dem svakere, mer skrøpelige og utsatt for brudd (osteoporose)
-
reaksjon på injeksjonsstedet
Sjeldne bivirkninger (kan forekomme hos opptil 1 av 1 000 personer):
-
kraftig smerter i skjelett, bryst, mage eller ledd (sigdcelleanemi med krise)
-
plutselig, livstruende allergisk reaksjon (anafylaktisk reaksjon)
-
smerter og hevelse i ledd, tilsvarende gikt (pseudogikt)
-
en endring i hvordan kroppen regulerer væsker i kroppen som kan føre til oppblåsthet (forstyrrelser i væskevolum)
-
betennelse i blodkarene i huden (kutan vaskulitt)
-
plommefargede, hovne, smertefulle sår på armer/ben, noen ganger i ansikt og nakke sammen med feber (Sweets syndrom)
-
forverring av leddgikt
-
unormal endring i urinen
-
redusert beintetthet
-
betennelse i hovedpulsåren (den store pulsåren som transporterer blod fra hjerte til kroppen). Se avsnitt 2
-
dannelse av blodceller utenfor beinmargen (ekstramedullær hematopoese).
Melding av bivirkninger
Kontakt lege, apotek eller sykepleier dersom du opplever bivirkninger. Dette gjelder også bivirkninger som ikke er nevnt i pakningsvedlegget. Du kan også melde fra om bivirkninger direkte via meldeskjema som finnes på nettsiden til Direktoratet for medisinske produkter: www.dmp.no/pasientmelding. Ved å melde fra om bivirkninger bidrar du med informasjon om sikkerheten ved bruk av dette legemidlet.
5. Hvordan du oppbevarer Nivestim
Oppbevares utilgjengelig for barn.
Bruk ikke dette legemidlet etter utløpsdatoen som er angitt på ytterpakningen og den ferdigfylte sprøyten etter EXP. Utløpsdatoen er den siste dagen i den angitte måneden.
Oppbevares og transporteres nedkjølt (ved 2-8ºC). Skal ikke fryses. Oppbevar den ferdigfylte sprøyten i ytteremballasjen for å beskytte mot lys.
Sprøyten kan tas ut av kjøleskapet og ligge i romtemperatur i en enkelt periode på maksimalt 15 dager (men ikke over 25ºC).
Bruk ikke dette legemidlet hvis oppløsningen er uklar eller inneholder partikler.
Legemidler skal ikke kastes i avløpsvann eller sammen med husholdningsavfall. Spør på apoteket hvordan du skal kaste legemidler som du ikke lenger bruker. Disse tiltakene bidrar til å beskytte miljøet.
6. Innholdet i pakningen og ytterligere informasjon
Sammensetning av Nivestim
-
Virkestoffet er filgrastim. 1 ml inneholder 60 millioner internasjonale enheter [MIE] (600 mikrogram) eller 96 millioner internasjonale enheter [MIE] (960 mikrogram) filgrastim.
-
Nivestim 12 MIE/0,2 ml injeksjons-/infusjonsvæske, oppløsning. Hver ferdigfylt sprøyte inneholder 12 millioner internasjonale enheter (MIE), 120 mikrogram filgrastim i 0,2 ml (tilsvarende 0,6 mg/ml)
-
Nivestim 30 MIE/0,5 ml injeksjons-/infusjonsvæske, oppløsning. Hver ferdigfylt sprøyte inneholder 30 millioner internasjonale enheter (MIE), 300 mikrogram filgrastim i 0,5 ml (tilsvarende 0,6 mg/ml)
-
Nivestim 48 MIE/0,5 ml injeksjons-/infusjonsvæske, oppløsning. Hver ferdigfylt sprøyte inneholder 48 millioner internasjonale enheter (MIE), 480 mikrogram filgrastim i 0,5 ml (tilsvarende 0,96 mg/ml)
-
Andre innholdsstoffer er: Iseddik, natriumhydroksid, polysorbat 80, sorbitol (E420) og vann til injeksjonsvæsker.
Hvordan Nivestim ser ut og innholdet i pakningen
Nivestim er en injeksjons-/infusjonsvæske, oppløsning i en ferdigfylt sprøyte og er en klar og fargeløs oppløsning med injeksjonsnål (rustfritt stål) og nålebeskytter. Nålebeskytteren inneholder epoksypren, et derivat av naturgummilateks, som kan komme i kontakt med nålen.
Det er 1, 5, 8 eller 10 sprøyter i hver pakning. Ikke alle pakningsstørrelser vil nødvendigvis bli markedsført.
Navn på innehaveren av markedsføringstillatelsen
Pfizer Europe MA EEIG
Boulevard de la Plaine 17
1050 Bruxelles
Belgia
Tilvirker
Boulevard de la Plaine 17
1050 Bruxelles
Belgia
Hospira Zagreb d.o.o.
Prudnička cesta 60
10291 Prigorje Brdovečko Kroatia
Prudnička cesta 60
10291 Prigorje Brdovečko Kroatia
Ta kontakt med den lokale representanten for innehaveren av markedsføringstillatelsen for ytterligere informasjon om dette legemidlet:
Pfizer AS
Tlf: +47 67 52 61 00
Tlf: +47 67 52 61 00
Dette pakningsvedlegget ble sist oppdatert 15.10.2024
Detaljert informasjon om dette legemidlet er tilgjengelig på nettstedet til Det europeiske legemiddelkontoret (the European Medicines Agency) https://www.ema.europa.eu
Dette avsnittet inneholder informasjon om hvordan du setter en sprøyte på deg selv med Nivestim. Det er viktig at du får spesiell opplæring av din lege eller sykepleier før du setter sprøyten på deg selv. Det er også viktig at du kaster sprøyten i en tett beholder som er egnet til oppbevaring av skarpe gjenstander (der nålen ikke kan stikke gjennom). Ta kontakt med lege eller sykepleier for hjelp dersom du er usikker på hvordan du skal sette sprøyten på deg selv.
Hvordan injiserer jeg Nivestim på egenhånd?
Nivestim injiseres normalt én gang daglig, vanligvis i vevet like under huden. Dette kalles en subkutan injeksjon.
Hvis du lærer deg hvordan du setter en sprøyte på deg selv, trenger du ikke å vente hjemme på at en sykepleier skal komme innom for å sette den, og du slipper å dra på sykehuset eller legekontoret for å få injeksjonene dine.
Du må sette injeksjonene til omtrent samme tid hver dag. De mest egnede stedene å sette injeksjonene er:
-
fremsiden av lårene
-
magen, med unntak av området rundt navlen.
Det beste er å bytte injeksjonssted hver dag for å unngå risikoen for å få sår på injeksjonsstedet.
Utstyr som du trenger til injeksjonen
For å gi deg selv en subkutan injeksjon trenger du:
Hva skal jeg gjøre før jeg gir meg selv en subkutan injeksjon med Nivestim?
-
Én ferdigfylt sprøyte med Nivestim.
-
Én tett beholder som er egnet til oppbevaring av skarpe gjenstander (der nålen ikke kan stikke gjennom) slik at du trygt kan kaste sprøyten.
-
Alkoholholdig tørkeserviett (hvis anbefalt av legen eller sykepleieren din).
1. Forsøk å injisere på omtrent samme tid hver dag.
2. Ta esken med den ferdigfylte sprøyten med Nivestim ut av kjøleskapet.
3. Ta blisterbrettet med den ferdigfylte sprøyten ut av esken. Når esken inneholder blisterbrett med mer enn én ferdigfylt sprøyte, skal en blister som inneholder én ferdigfylt sprøyte rives av langs den perforerte delen. Resten av blisterbrettet med ferdigfylte sprøyter skal legges tilbake i esken, og esken skal legges tilbake i kjøleskapet.
4. Åpne blisterbrettet med den ferdigfylte sprøyten ved å dra av lokket fra blisterbrettet. Ta ut den ferdigfylte sprøyten fra blisterbrettet ved å gripe fra sprøytens hoveddel.
-
Ikke ta tak i den grå nålehetten eller stempelstangen.
Kontroller sprøyten for å forsikre deg om at nålebeskyttelsen dekker beholderen til den ferdigfylte sprøyten. Ikke skyv nålebeskyttelsen over nålehetten før injeksjonen. Dette kan aktivere eller låse nålebeskyttelsen. Hvis nålebeskyttelsen dekker nålen, betyr det at den er aktivert.
Sjekk at oppløsningen er klar, fargeløs og uten synlige partikler. Ikke inspiser produktet gjennom plasten på sikkerhetsinnretningen.
Sjekk datoen på etiketten for å være sikker på at legemidlet ikke har passert utløpsdatoen.
Pass på at du har en tett beholder som er egnet til oppbevaring av skarpe gjenstander (der nålen ikke kan stikke gjennom) i nærheten.
La den ferdigfylte sprøyten nå romtemperatur (ca. 25ºC). Dette tar mellom 15 og 30 minutter.
Sjekk at oppløsningen er klar, fargeløs og uten synlige partikler. Ikke inspiser produktet gjennom plasten på sikkerhetsinnretningen.
Sjekk datoen på etiketten for å være sikker på at legemidlet ikke har passert utløpsdatoen.
Pass på at du har en tett beholder som er egnet til oppbevaring av skarpe gjenstander (der nålen ikke kan stikke gjennom) i nærheten.
La den ferdigfylte sprøyten nå romtemperatur (ca. 25ºC). Dette tar mellom 15 og 30 minutter.
-
Ikke fjern nålehetten mens den ferdigfylte sprøyten romtempereres.
-
Ikke rist sprøyten.
-
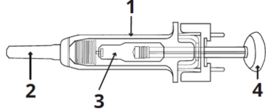
Nålebeskyttelse
-
Nålehette
-
Legemiddel
-
Stempelstang
-
Bruk ikke Nivestim-sprøyten hvis:
-
Esken er åpnet eller skadet.
-
Nålebeskyttelsen mangler, er løsnet eller har blitt aktivert.
-
Legemidlet er uklart eller misfarget eller væsken inneholder flytende partikler.
-
En del av den ferdigfylte sprøyten ser sprukket eller ødelagt ut eller væske har lekket ut av sprøyten.
-
Den ferdigfylte sprøyten har blitt mistet i bakken. Den ferdigfylte sprøyten kan være ødelagt selv om du ikke kan se det.
-
Nålehetten mangler eller ikke er sikkert festet.
-
Utløpsdatoen på etiketten er passert.
I alle tilfellene angitt over skal den ferdigfylte sprøyten kastes, og en ny ferdigfylt sprøyte skal brukes. -
5. Finn et behagelig sted med godt lys til å sette injeksjonen, og sjekk dosen du har fått foreskrevet.
6. Vask hendene grundig med såpe og vann.
7. Hold den ferdigfylte sprøyten ved å gripe rundt nålebeskyttelsen med nålehetten pekende oppover.
-
Ikke hold i stempelhodet, stempelet eller nålehetten.
-
Stempelet skal ikke på noe tidspunkt trekkes tilbake.
-
Ikke fjern nålehetten fra den ferdigfylte sprøyten før du er klar til å injisere legemidlet.
8. Ta nålehetten av sprøyten ved å holde rundt beholderen og trekke nålehetten forsiktig rett av og bort fra kroppen din uten å vri. Kast nålehetten. Du skal ikke sette nålehetten tilbake på sprøyten. Ikke skyv inn stempelet, og ikke berør nålen eller rist sprøyten.
9. Sprøyten er nå klar til bruk. Det kan være en liten luftboble i sprøyten. Du behøver ikke å fjerne luftboblen før injeksjon. Injeksjon av en oppløsning med en luftboble er ufarlig.
10. Bestem deg for hvor du skal sette injeksjonen – finn et egnet sted på magen eller på fremsiden av låret. Bytt injeksjonssted for hver gang. Du skal ikke sette injeksjonen på et sted som er ømt, rødt, hovent eller sårt. Rens injeksjonsstedet med en spritserviett.
11. Ta tak i en hudfold, men pass på at du ikke berører det området som du har renset.
12. Hold den ferdigfylte sprøyten med den andre hånden, slik du ville holdt en blyant. Beveg sprøyten raskt som en «pil» for å stikke nålen i omtrent 45º vinkel inn i huden, som vist.
13. Trekk forsiktig i stemplet for å se at det ikke kommer blod inn i sprøyten. Hvis du ser blod i sprøyten, trekk ut nålen og injiser igjen et annet sted. Press stempelet forsiktig inn til hele innholdet er ute.
14. Etter å ha injisert væsken, trekker du ut nålen og slipper taket i huden.
15. Sørg for at nålebeskytteren dekker nålen i henhold til instruksjonene for aktiv eller passiv nålebeskytter nedenfor.
16. Du skal ikke prøve å sette på nålehetten igjen. Legg den brukte sprøyten i en tett beholder som er egnet til oppbevaring av skarpe gjenstander (der nålen ikke kan stikke gjennom).
-
Oppbevar brukte sprøyter utilgjengelig for barn.
-
Du skal aldri kaste brukte sprøyter i husholdningsavfallet.
De fleste personer kan lære seg å sette en subkutan injeksjon på seg selv. Hvis du opplever dette som vanskelig, skal du ikke være redd for å be om hjelp og råd fra lege eller sykepleier.
Bruk av UltraSafe aktiv nålebeskytter til Nivestim 12 MIE/0,2 ml injeksjons-/infusjonsvæske, oppløsning
Den ferdigfylte sprøyten er utstyrt med UltraSafe aktiv nålebeskytter for å hindre stikkskader. Når du håndterer den ferdigfylte sprøyten, må du passe på å holde hendene bak nålen.
Bruk av UltraSafe passiv nålebeskytter til Nivestim 30 MIE/0,5 ml injeksjons-/ infusjonsvæske, oppløsning og Nivestim 48 MIE/0,5 ml injeksjons-/infusjonsvæske, oppløsning
-
Sett injeksjonen som beskrevet ovenfor.
-
Når injeksjonen er satt, presser du kanylebeskytteren fremover til nålen er helt dekket av den (du hører et klikk).
Den ferdigfylte sprøyten er utstyrt med UltraSafe passiv nålebeskytter for å hindre stikkskader. Når du håndterer den ferdigfylte sprøyten, må du passe på å holde hendene bak nålen.
1. Sett injeksjonen som beskrevet ovenfor.
2. Skyv ned stempelet mens du holder i fingerflensen til hele dosen er satt. Den passive kanylebeskyttelsen vil IKKE aktiveres før HELE dosen er satt.
3. Fjern nålen fra huden, slipp stempelet og la sprøyten bevege seg opp til hele nålen er beskyttet og klikker på plass.
Nivestim inneholder ikke konserveringsmidler. Med tanke på den potensielle risikoen for mikrobiell kontaminasjon, skal Nivestim-sprøytene kun brukes én gang.
Utilsiktet eksponering for temperaturer under frysepunktet opptil 24 timer påvirker ikke stabiliteten til Nivestim. De frosne ferdigfylte sprøytene kan tines og deretter oppbevares kjølig til fremtidig bruk.
Hvis eksponeringen har vart lenger enn 24 timer eller hvis sprøytene har vært frosset mer enn én gang, skal Nivestim IKKE brukes.
Hvis eksponeringen har vart lenger enn 24 timer eller hvis sprøytene har vært frosset mer enn én gang, skal Nivestim IKKE brukes.
Nivestim skal ikke fortynnes med natriumkloridoppløsning. Dette legemidlet skal ikke blandes med andre legemidler enn de som er angitt under. Fortynnet filgrastim kan absorberes til glass og plastmaterialer unntatt hvis det er fortynnet som nevnt nedenfor.
Ved behov kan Nivestim fortynnes i 5 % glukoseoppløsning. Fortynning til en sluttkonsentrasjon lavere enn 0,2 MIE (2 mikrogram) per ml anbefales ikke på noe tidspunkt. Oppløsningen skal inspiseres visuelt før bruk. Bare klar oppløsning uten partikler skal brukes. For pasienter som behandles med filgrastim fortynnet til konsentrasjoner under 1,5 MIE (15 mikrogram) per ml, skal humant serumalbumin (HSA) tilsettes til en sluttkonsentrasjon på 2 mg/ml.
Eksempel: I et endelig injeksjonsvolum på 20 ml skal totaldose med filgrastim på mindre enn 30 MIE (300 mikrogram) tilsettes 0,2 ml humant albumin 200 mg/ml (20 %). Når Nivestim er fortynnet med 5 % glukoseoppløsning, er den kompatibel med glass og en rekke plasttyper, inkludert PVC, polyolefin (en kopolymer av polypropylen og polyetylen) og polypropylen.
Etter fortynning: Kjemisk og fysisk stabilitet av bruksferdig oppløsning er vist for 24 timer ved 2-8ºC. Fra et mikrobiologisk synspunkt skal produktet brukes umiddelbart. Dersom det ikke brukes umiddelbart, er det brukerens ansvar å overholde oppbevaringstid og -betingelser før preparatet brukes, som normalt ikke skal overstige 24 timer ved 2-8ºC, med mindre rekonstitueringen har foregått under kontrollerte og validerte aseptiske betingelser.







